| وضعیت در دسترس بودن: | |
|---|---|
| مقدار: | |
DF-497
HEE
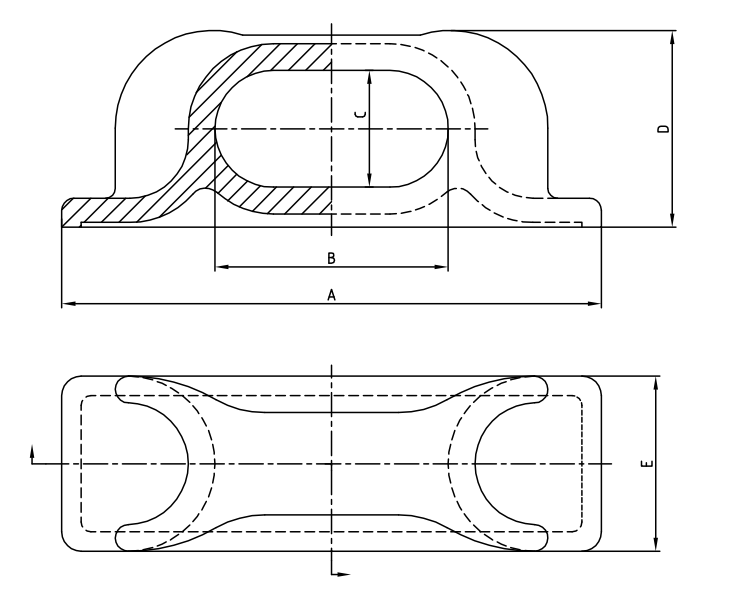
چاک کلوچه ای از فولاد بازیگران
| مدل شماره. | A | B | C | D | E | Wt. (پوند) |
| DF-497 | 19 3/4 ' | 8 ' | 4 ' | 6 3/4 ' | 6 ' | 84 |
| DF-480 | 27 3/4 ' | 12 ' | 6 ' | 10 1/8 ' | 9 ' | 191 |
| DF-490 | 36 ' | 16 ' | 8 ' | 13 3/8 ' | 12 ' | 455 |
چاک دریایی بسته بندی شده از فولاد ، استانداردی را برای مدیریت طناب ایمن در محیط های دریایی که در آن مهار طناب و کنترل جهت بسیار مهم است ، تعیین می کند. از آنجا که اپراتورهای کشتی با چالش های فزاینده ای از حوادث شدید آب و هوایی و دریاهای سنگین روبرو هستند ، این نوع بسته از نوع بسته ، حفظ طناب برتر را در مقایسه با طرح های باز فراهم می کند و خطر جابجایی در شرایط خشن را به حداقل می رساند. ساخته شده از فولاد بازیگران درجه ASTM A27 با بار کار ایمن (SWL) 800 کیلو نیوتن (81.6 تن) ، این چوک دارای یک گلو کاملاً محصور با یک کانال طناب به قطر 14 اینچی است که دارای طناب های مصنوعی و فولادی از قطر 40 میلی متر تا 75 میلی متر است. ردپای جمع و جور آن (18 × 18 اینچ) باعث می شود که برای نصب و راه اندازی در عرشه و حمل و نقل بر روی کشتی های باری تجاری ، کشتی های عرضه دریایی و قایق های گشت ساحلی مناسب باشد.
پیکربندی کاملاً بسته گلو دارای محفظه طناب 360 درجه با یک کانال صاف و رادیویی است که از فرار طناب حتی در هنگام شیفت های ناگهانی بار یا رول کشتی بیش از 25 درجه جلوگیری می کند. درگاه های ورودی و خروجی شامل 15 درجه شعله ور هستند که ضمن کاهش سایش ، طناب را به کانال اصلی هدایت می کنند. این طرح خطرات 'شلاق' را که در هنگام طناب زدن لحظه به لحظه از بین می رود ، از بین می برد.
با استفاده از ریخته گری گمشده برای دقت ابعادی ، چوک در سراسر دیوارهای ضخیم 2 اینچی خود به ساختار دانه یکنواخت دست می یابد. ساخت و ساز یک قطعه نقاط خرابی بالقوه را از بین می برد ، در حالی که عملیات حرارتی به 200 سختی BHN مقاومت در برابر سایش استثنایی را فراهم می کند. مناطق استرس بحرانی در اطراف فلنج نصب با روبان های انتگرال تقویت می شوند.
چوک یک پوشش محافظ دو مرحله ای دریافت می کند : یک آغازگر اپوکسی غنی از روی 120μm که پس از شن و ماسه سنگ برای استانداردهای SA 2.5 اعمال می شود ، و به دنبال آن یک روکش پلی اورتان 60μm آلیفاتیک. این سیستم 1800 ساعت مقاومت در برابر اسپری نمکی در هر آزمایش ASTM B117 را فراهم می کند. تمام سطوح در تماس با خطوط اتصال به پایان RA 1.6μm برای به حداقل رساندن سایش طناب صیقلی می شوند.
گلو محصور مانع از پرش طناب ها در هنگام تغییر ناگهانی بار یا حرکت کشتی می شود و خطر صدمات شلاق خط را به خدمه و آسیب به تجهیزات از بین می برد. این ویژگی به ویژه در شرایط طوفان یا در حین عملیات اضطراری در حال حمل و نقل بسیار ارزشمند است.
کانال جلا با شعاع صاف از تخریب فیبر در طناب های مصنوعی با کارایی بالا مانند Dyneema و Polyester جلوگیری می کند. این طرح از لبه های تیز جلوگیری می کند که می تواند باعث ایجاد آسیب فیبر داخلی شود و عمر سرویس طناب را تا 30 ٪ در مقایسه با چاک های باز استاندارد افزایش می دهد.
چاک دریایی بسته به استانداردهای ISO 13713 برای اتصالات اتصال داده شده و الزامات SOLAS را برای کشتی هایی که در آبهای بین المللی فعالیت می کنند ، برآورده می کند. این توسط جوامع طبقه بندی عمده از جمله ABS ، DNV و ثبت نام لوید تأیید شده است.
بله ، طراحی متقارن امکان نصب در هر دو موقعیت عرشه (افقی) و bulwark (عمودی) را فراهم می کند بدون اینکه عملکرد به خطر بیاندازد. فلنج نصب شامل 12 سوراخ از پیش حفر شده برای تنظیم تنظیمات مختلف نصب است.
بازرسی های هفتگی باید الگوهای سایش طناب و زباله های موجود در کانال را بررسی کند. نگهداری ماهانه شامل تمیز کردن مسیر طناب و بازرسی از یکپارچگی پوشش است. بازرسی های سالانه باید جوش های نصب را تأیید کرده و ابعاد کانال را برای تشخیص سایش بیش از حد اندازه گیری کند (حداکثر سایش مجاز 5 ٪ قطر اصلی است).
چاک کلوچه ای از فولاد بازیگران
| مدل شماره. | A | B | C | D | E | Wt. (پوند) |
| DF-497 | 19 3/4 ' | 8 ' | 4 ' | 6 3/4 ' | 6 ' | 84 |
| DF-480 | 27 3/4 ' | 12 ' | 6 ' | 10 1/8 ' | 9 ' | 191 |
| DF-490 | 36 ' | 16 ' | 8 ' | 13 3/8 ' | 12 ' | 455 |
چاک دریایی بسته بندی شده از فولاد ، استانداردی را برای مدیریت طناب ایمن در محیط های دریایی که در آن مهار طناب و کنترل جهت بسیار مهم است ، تعیین می کند. از آنجا که اپراتورهای کشتی با چالش های فزاینده ای از حوادث شدید آب و هوایی و دریاهای سنگین روبرو هستند ، این نوع بسته از نوع بسته ، حفظ طناب برتر را در مقایسه با طرح های باز فراهم می کند و خطر جابجایی در شرایط خشن را به حداقل می رساند. ساخته شده از فولاد بازیگران درجه ASTM A27 با بار کار ایمن (SWL) 800 کیلو نیوتن (81.6 تن) ، این چوک دارای یک گلو کاملاً محصور با یک کانال طناب به قطر 14 اینچی است که دارای طناب های مصنوعی و فولادی از قطر 40 میلی متر تا 75 میلی متر است. ردپای جمع و جور آن (18 × 18 اینچ) باعث می شود که برای نصب و راه اندازی در عرشه و حمل و نقل بر روی کشتی های باری تجاری ، کشتی های عرضه دریایی و قایق های گشت ساحلی مناسب باشد.
پیکربندی کاملاً بسته گلو دارای محفظه طناب 360 درجه با یک کانال صاف و رادیویی است که از فرار طناب حتی در هنگام شیفت های ناگهانی بار یا رول کشتی بیش از 25 درجه جلوگیری می کند. درگاه های ورودی و خروجی شامل 15 درجه شعله ور هستند که ضمن کاهش سایش ، طناب را به کانال اصلی هدایت می کنند. این طرح خطرات 'شلاق' را که در هنگام طناب زدن لحظه به لحظه از بین می رود ، از بین می برد.
با استفاده از ریخته گری گمشده برای دقت ابعادی ، چوک در سراسر دیوارهای ضخیم 2 اینچی خود به ساختار دانه یکنواخت دست می یابد. ساخت و ساز یک قطعه نقاط خرابی بالقوه را از بین می برد ، در حالی که عملیات حرارتی به 200 سختی BHN مقاومت در برابر سایش استثنایی را فراهم می کند. مناطق استرس بحرانی در اطراف فلنج نصب با روبان های انتگرال تقویت می شوند.
چوک یک پوشش محافظ دو مرحله ای دریافت می کند : یک آغازگر اپوکسی غنی از روی 120μm که پس از شن و ماسه سنگ برای استانداردهای SA 2.5 اعمال می شود ، و به دنبال آن یک روکش پلی اورتان 60μm آلیفاتیک. این سیستم 1800 ساعت مقاومت در برابر اسپری نمکی در هر آزمایش ASTM B117 را فراهم می کند. تمام سطوح در تماس با خطوط اتصال به پایان RA 1.6μm برای به حداقل رساندن سایش طناب صیقلی می شوند.
گلو محصور مانع از پرش طناب ها در هنگام تغییر ناگهانی بار یا حرکت کشتی می شود و خطر صدمات شلاق خط را به خدمه و آسیب به تجهیزات از بین می برد. این ویژگی به ویژه در شرایط طوفان یا در حین عملیات اضطراری در حال حمل و نقل بسیار ارزشمند است.
کانال جلا با شعاع صاف از تخریب فیبر در طناب های مصنوعی با کارایی بالا مانند Dyneema و Polyester جلوگیری می کند. این طرح از لبه های تیز جلوگیری می کند که می تواند باعث ایجاد آسیب فیبر داخلی شود و عمر سرویس طناب را تا 30 ٪ در مقایسه با چاک های باز استاندارد افزایش می دهد.
چاک دریایی بسته به استانداردهای ISO 13713 برای اتصالات اتصال داده شده و الزامات SOLAS را برای کشتی هایی که در آبهای بین المللی فعالیت می کنند ، برآورده می کند. این توسط جوامع طبقه بندی عمده از جمله ABS ، DNV و ثبت نام لوید تأیید شده است.
بله ، طراحی متقارن امکان نصب در هر دو موقعیت عرشه (افقی) و bulwark (عمودی) را فراهم می کند بدون اینکه عملکرد به خطر بیاندازد. فلنج نصب شامل 12 سوراخ از پیش حفر شده برای تنظیم تنظیمات مختلف نصب است.
بازرسی های هفتگی باید الگوهای سایش طناب و زباله های موجود در کانال را بررسی کند. نگهداری ماهانه شامل تمیز کردن مسیر طناب و بازرسی از یکپارچگی پوشش است. بازرسی های سالانه باید جوش های نصب را تأیید کرده و ابعاد کانال را برای تشخیص سایش بیش از حد اندازه گیری کند (حداکثر سایش مجاز 5 ٪ قطر اصلی است).
در DF-274-5 2 سگ بزرگ شده یک عرشه دریایی ممتاز است که توسط Hee (شرکت مهندسی و تجهیزات Changshu Haichuan ، Ltd.) ، Ltd.) ، تولید کننده برجسته مستقر در چین که متخصص تجهیزات دریایی و دریایی است ، مهندسی شده است. این دریچه به منظور رفع نیاز بحرانی به مقاومت قابل اعتماد به آب در محیط های دریایی سخت ، به عنوان یک مانع محافظ برای دهانه های عرشه ، جلوگیری از ورود آب ، تجمع گرد و غبار و خوردگی که می تواند به اجزای داخلی کشتی ها ، سیستم عامل های دریایی یا زیرساخت های بندری آسیب برساند ، طراحی شده است.