| وضعیت در دسترس بودن: | |
|---|---|
| مقدار: | |
RJ-3680
HEE
بازیگری سریع دریچه ضد آب
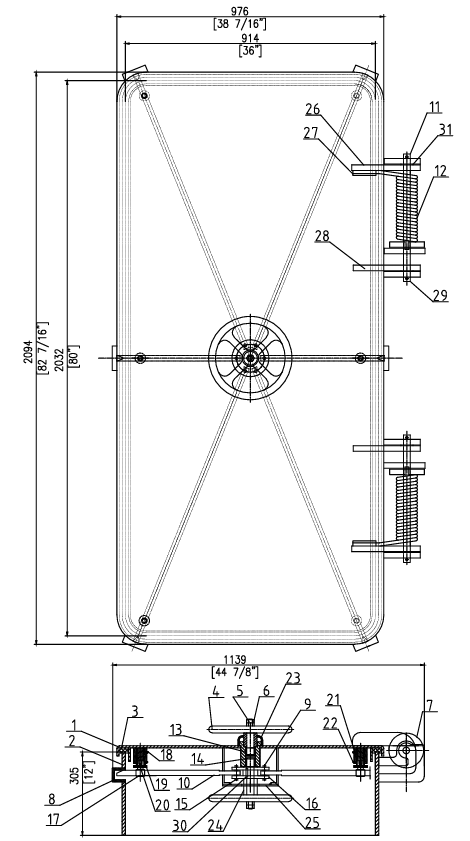
| خیر | نام و مشخصات | مواد |
| 1 | مونتاژ روکش دریچه | STEEL |
| 2 | مونتاژ پیش رو | STEEL |
| 3 | واشر دریچه ای | نئوپرن |
| 4 | مونتاژ چرخ دستی | STEEL |
| 5 | شفت مرکزی | فولاد ضد زنگ |
| 6 | مهره مربا | فولاد ضد زنگ |
| 7 | چرخ دنده تنظیمی | STEEL |
| 8 | مونتاژ جیب سگ | STEEL |
| 9 | پین COTER | فولاد ضد زنگ |
| 10 | بازوی سگ | فولاد ضد زنگ |
| 11 | پین لولا | فولاد ضد زنگ |
| 12 | فنر لولا | فولاد ضد زنگ |
| 13 | بوشینگ | نایلون |
| 14 | بسته بندی | گرافیت |
| 15 | پین بازوی سگ | فولاد ضد زنگ |
| 16 | مونتاژ بلوک چرخشی | فولاد ضد زنگ |
| 17 | راهنمای چرخش | برنج |
| 18 | دکمه تنظیم | STEEL |
| 19 | SWIVEL GUIDE SPRING | فولاد ضد زنگ |
| 20 | اتصالات گریس | فولاد ضد زنگ |
| 21 | واشر | فولاد ضد زنگ |
| 22 | پیچ | فولاد ضد زنگ |
| 23 | آستین | STEEL |
| 24 | آستین | STEEL |
| 25 | پوسته | STEEL |
| 26 | تیغه لولا | STEEL |
| 27 | پشتیبانی بهار | STEEL |
| 28 | پشتیبانی فنری فیکساتور | STEEL |
| 29 | پین COTER | فولاد ضد زنگ |
| 30 | کلید | فولاد ضد زنگ |
| 31 | واشر | فولاد ضد زنگ |
بازیگری سریع دریچه ضد آب
| خیر | نام و مشخصات | مواد |
| 1 | مونتاژ روکش دریچه | STEEL |
| 2 | مونتاژ پیش رو | STEEL |
| 3 | واشر دریچه ای | نئوپرن |
| 4 | مونتاژ چرخ دستی | STEEL |
| 5 | شفت مرکزی | فولاد ضد زنگ |
| 6 | مهره مربا | فولاد ضد زنگ |
| 7 | چرخ دنده تنظیمی | STEEL |
| 8 | مونتاژ جیب سگ | STEEL |
| 9 | پین COTER | فولاد ضد زنگ |
| 10 | بازوی سگ | فولاد ضد زنگ |
| 11 | پین لولا | فولاد ضد زنگ |
| 12 | فنر لولا | فولاد ضد زنگ |
| 13 | بوشینگ | نایلون |
| 14 | بسته بندی | گرافیت |
| 15 | پین بازوی سگ | فولاد ضد زنگ |
| 16 | مونتاژ بلوک چرخشی | فولاد ضد زنگ |
| 17 | راهنمای چرخش | برنج |
| 18 | دکمه تنظیم | STEEL |
| 19 | SWIVEL GUIDE SPRING | فولاد ضد زنگ |
| 20 | اتصالات گریس | فولاد ضد زنگ |
| 21 | واشر | فولاد ضد زنگ |
| 22 | پیچ | فولاد ضد زنگ |
| 23 | آستین | STEEL |
| 24 | آستین | STEEL |
| 25 | پوسته | STEEL |
| 26 | تیغه لولا | STEEL |
| 27 | پشتیبانی بهار | STEEL |
| 28 | پشتیبانی فنری فیکساتور | STEEL |
| 29 | پین COTER | فولاد ضد زنگ |
| 30 | کلید | فولاد ضد زنگ |
| 31 | واشر | فولاد ضد زنگ |
محتوا خالی است uff01
در DF-274-5 2 سگ بزرگ شده یک عرشه دریایی ممتاز است که توسط Hee (شرکت مهندسی و تجهیزات Changshu Haichuan ، Ltd.) ، Ltd.) ، تولید کننده برجسته مستقر در چین که متخصص تجهیزات دریایی و دریایی است ، مهندسی شده است. این دریچه به منظور رفع نیاز بحرانی به مقاومت قابل اعتماد به آب در محیط های دریایی سخت ، به عنوان یک مانع محافظ برای دهانه های عرشه ، جلوگیری از ورود آب ، تجمع گرد و غبار و خوردگی که می تواند به اجزای داخلی کشتی ها ، سیستم عامل های دریایی یا زیرساخت های بندری آسیب برساند ، طراحی شده است.