| وضعیت در دسترس بودن: | |
|---|---|
| مقدار: | |
DF-274-5
HEE
2 دریچه ضد آب بلند شده توسط سگ
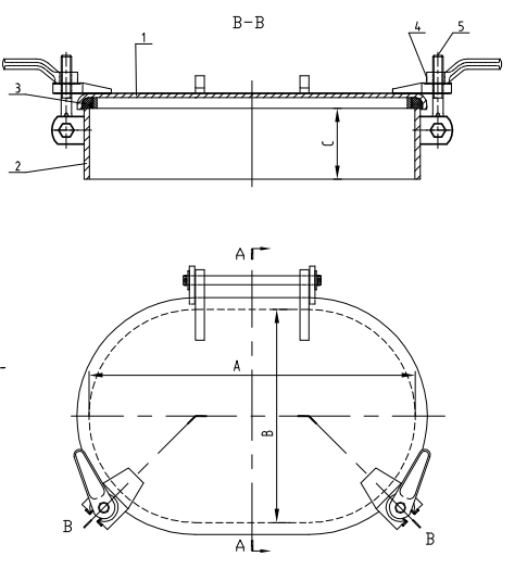
| شماره مدل | A | B | C | WT. (پوند) |
| DF-274-5 | 23 ' | 15' | 5' | 90 |
| نه | نام و مشخصات | تعداد | مواد |
| 1 | پوشش | 1 | STEEL |
| 2 | آمدن | 1 | STEEL |
| 3 | واشر | 1 | نئوپرن |
| 4 | دسته سگ | 2 | چدن |
| 5 | پیچ و تاب | 2 | برنز |
جزئیات
پوشش دریچه پیچ و مهره ای ضد آب ما را معرفی می کنیم که به طور خاص برای کاربردهای حمل و نقل طراحی شده است.این روکش دریچه که با نهایت دقت و دوام ساخته شده است، محافظت بهینه در برابر شرایط آب و هوایی سخت را تضمین می کند و ایمنی محموله شما را تضمین می کند.
پوشش دریچه ما که با استفاده از فولاد کربنی ساخته شده است برای مقاومت ساخته شده است باران های شدید و بادهای شدید، آن را به گزینه ای ایده آل برای حمل و نقل دریایی تبدیل می کند.طراحی برجسته یک لایه امنیتی اضافی اضافه می کند و از ورود آب و زباله به انبار بار جلوگیری می کند.
پوشش دریچه ضد آب ما نه تنها محافظت بی نظیری را ارائه می دهد، بلکه نصب و نگهداری را نیز آسان می کند.طراحی کاربرپسند امکان نصب سریع و بدون دردسر را فراهم می کند و در زمان و تلاش ارزشمند صرفه جویی می کند.علاوه بر این، ماهیت کم نگهداری آن تضمین میکند که میتوانید بدون نگرانی در مورد نگهداری مداوم، روی عملیات اصلی کسبوکار خود تمرکز کنید.
پوشش دریچه پیچ و مهره دار ضد آب ما را برای حمل و نقل انتخاب کنید و ترکیبی عالی از قابلیت اطمینان، عملکرد و طول عمر را تجربه کنید.سفارش خود را همین امروز ثبت کنید و از محموله های خود با اطمینان محافظت کنید.
2 دریچه ضد آب بلند شده توسط سگ
| شماره مدل | A | B | C | WT. (پوند) |
| DF-274-5 | 23 ' | 15' | 5' | 90 |
| نه | نام و مشخصات | تعداد | مواد |
| 1 | پوشش | 1 | STEEL |
| 2 | آمدن | 1 | STEEL |
| 3 | واشر | 1 | نئوپرن |
| 4 | دسته سگ | 2 | چدن |
| 5 | پیچ و تاب | 2 | برنز |
جزئیات
پوشش دریچه پیچ و مهره ای ضد آب ما را معرفی می کنیم که به طور خاص برای کاربردهای حمل و نقل طراحی شده است.این روکش دریچه که با نهایت دقت و دوام ساخته شده است، محافظت بهینه در برابر شرایط آب و هوایی سخت را تضمین می کند و ایمنی محموله شما را تضمین می کند.
پوشش دریچه ما که با استفاده از فولاد کربنی ساخته شده است برای مقاومت ساخته شده است باران های شدید و بادهای شدید، آن را به گزینه ای ایده آل برای حمل و نقل دریایی تبدیل می کند.طراحی برجسته یک لایه امنیتی اضافی اضافه می کند و از ورود آب و زباله به انبار بار جلوگیری می کند.
پوشش دریچه ضد آب ما نه تنها محافظت بی نظیری را ارائه می دهد، بلکه نصب و نگهداری را نیز آسان می کند.طراحی کاربرپسند امکان نصب سریع و بدون دردسر را فراهم می کند و در زمان و تلاش ارزشمند صرفه جویی می کند.علاوه بر این، ماهیت کم نگهداری آن تضمین میکند که میتوانید بدون نگرانی در مورد نگهداری مداوم، روی عملیات اصلی کسبوکار خود تمرکز کنید.
پوشش دریچه پیچ و مهره دار ضد آب ما را برای حمل و نقل انتخاب کنید و ترکیبی عالی از قابلیت اطمینان، عملکرد و طول عمر را تجربه کنید.سفارش خود را همین امروز ثبت کنید و از محموله های خود با اطمینان محافظت کنید.
محتوا خالی است uff01
در DF-274-5 2 سگ بزرگ شده یک عرشه دریایی ممتاز است که توسط Hee (شرکت مهندسی و تجهیزات Changshu Haichuan ، Ltd.) ، Ltd.) ، تولید کننده برجسته مستقر در چین که متخصص تجهیزات دریایی و دریایی است ، مهندسی شده است. این دریچه به منظور رفع نیاز بحرانی به مقاومت قابل اعتماد به آب در محیط های دریایی سخت ، به عنوان یک مانع محافظ برای دهانه های عرشه ، جلوگیری از ورود آب ، تجمع گرد و غبار و خوردگی که می تواند به اجزای داخلی کشتی ها ، سیستم عامل های دریایی یا زیرساخت های بندری آسیب برساند ، طراحی شده است.