در بلوک ربودن دریایی SB311 کارایی را در حمل بار دریایی تعریف می کند ، و یک راه حل مهم و مهم برای عملیات برداشتن و بکسل در کشتی ها و سیستم عامل های دریایی فراهم می کند.
| وضعیت در دسترس بودن: | |
|---|---|
| مقدار: | |
SB311-24 '*25t
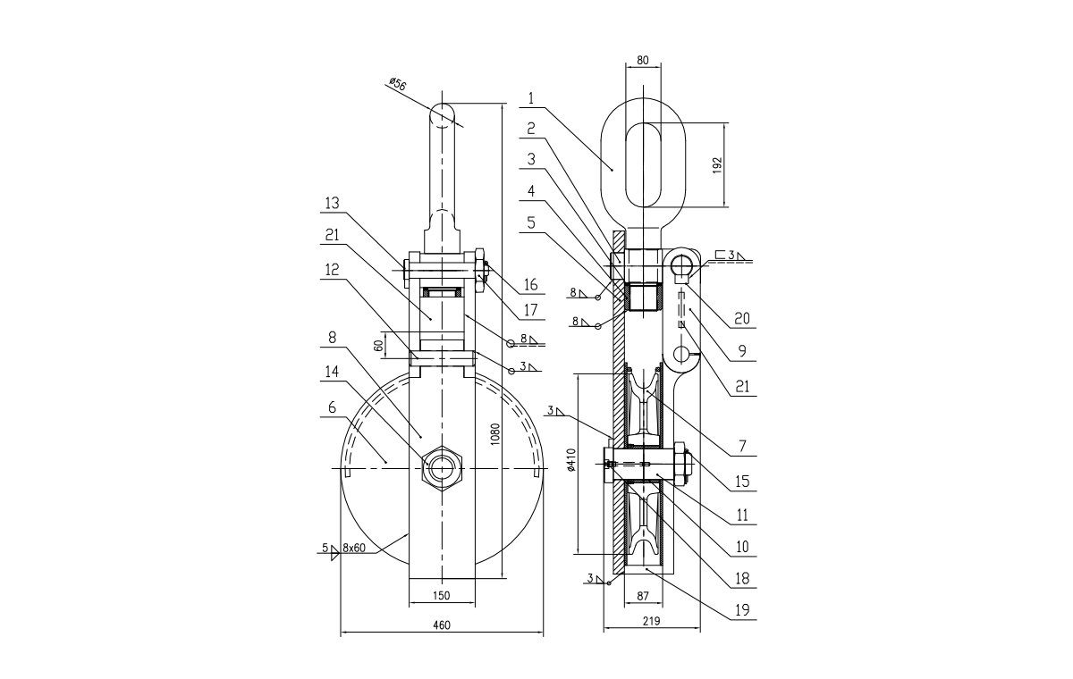
بلوک ربوده باربری SB311
| مدل | وزن (کیلوگرم) | SWL (T) | TL (T) |
| SB311-8 '× 2.5t | 29 | 2.5 | 10 |
| SB311-10 '× 3T | 40 | 3 | 12 |
| SB311-12 '× 5T | 46 | 5 | 20 |
| SB311-14 '× 6t | 65 | 6 | 24 |
| SB311-14 '× 8t | 70 | 8 | 32 |
| SB311-16 '× 8t | 98 | 8 | 32 |
| SB311-16 '× 10t | 104 | 10 | 40 |
| SB311-16 '× 15t | 137 | 15 | 60 |
| SB311-18 '× 15t | 153 | 15 | 60 |
| SB311-18 '× 20t | 204 | 20 | 80 |
| SB311-20 '× 25t | 260 | 25 | 100 |
| SB311-24 '× 50t | 360 | 50 | 150 |
| قسمت | شرح | qty | وزن |
| 1 | حلقه بلند | 1 | 29.3 |
| 2 | پرتو | 1 | 24 |
| 3 | فضا | 1 | 0.32 |
| 4 | گردو | 1 | 2.4 |
| 5 | بازپرداخت | 1 | 41.34 |
| 6 | گارد | 2 | 29.84 |
| 7 | چرخ | 1 | 62 |
| 8 | شفت | 1 | 11.26 |
| 9 | محل اتصال | 2 | 18.62 |
| 10 | پین کردن | 1 | 3 |
| 11 | شافت سنجاق | 1 | 2.25 |
| 12 | صفحه لولا | 1 | 27.8 |
| 13 | مهره | 1 | 1.16 |
| 14 | بوش | 1 | 1.68 |
| 15 | محل اتصال | 1 | 3.1 |
| 16 | محل اتصال | 1 | 1.09 |
| 17 | بلوک ثابت | 2 | 0.12 |
| 18 | مهره | 1 | |
| 19 | پین کردن | 1 | |
| 20 | پین کردن | 1 | |
| 21 | زرنگ | 2 |
از آنجا که تدارکات دریایی نیاز به زمان چرخش سریعتر و ظرفیت های بار سنگین تر دارد ، این بلوک ربودن ساخت و سازهای قوی را با عملیات پایین برای افزایش ایمنی و بهره وری عملیاتی ترکیب می کند. برای کنترل SB311 بارهای کار ایمن تا 50 تن (490 کیلو نیوتن) ، دارای یک قرقره با قطر 16 اینچی با یاتاقان های دقیق ، طناب های سیم و شکاف های مصنوعی از قطر 22 میلی متر تا 32 میلی متر است. قاب فولادی قطره ای آن با طراحی پین سریع ، امکان قرار دادن سریع طناب را بدون نخ قرار می دهد ، و این امر را برای واکنش اضطراری و عملیات روتین حمل و نقل ضروری می کند.
SB311 دارای یک برش فولادی سخت شده با یک شیار صیقلی (RA 0.8μm) است که سایش طناب را به حداقل می رساند و باعث از بین رفتن اصطکاک به کمتر از 3 ٪ می شود. این برش بر روی بوش های برنز خودکشی می چرخد که برای 10،000+ چرخه عملیات بدون تعمیر و نگهداری رتبه بندی می شود و عملکرد صاف حتی در محیط های آب شور را تضمین می کند. این طرح یکپارچگی طناب را ضمن حداکثر رساندن راندمان انتقال بار حفظ می کند.
این قاب که از فولاد کربن قطره ای (ASTM A668 درجه متر) با مقاومت کششی بیش از 800 مگاپاسکال تولید می شود ، این قاب در برابر بارهای جانبی تا 125 ٪ SWL مقاومت می کند. صفحه جانبی سریع انتشار دارای یک پین قفل بهار با یک محفظه ایمنی است که از باز شدن تصادفی در حین کار جلوگیری می کند. تمام اجزای تحمل بار برای از بین بردن نقص داخلی تحت بازرسی ذرات مغناطیسی قرار می گیرند.
کل مونتاژ یک پوشش گالوانیزه گرم (حداقل ضخامت 85μm) را با استانداردهای ASTM A153 دریافت می کند و مقاومت در برابر خوردگی برتر را در محیط های آب شور فراهم می کند. اجزای بحرانی مانند محور و بوش ها از 316 فولاد ضد زنگ برای جلوگیری از تصرف ساخته شده اند. شیار برشی شامل یک نشانگر سایش است که در صورت از بین رفتن 10 ٪ ضخامت مواد قابل مشاهده است.
SB311 با هدایت نیروی طناب یا کابل ، به طور موثری ظرفیت بلند کردن سیستم های وینچ را دو برابر می کند در حالی که نیروی عملیاتی مورد نیاز را به نصف کاهش می دهد. این مزیت مکانیکی امکان دستیابی به بارهای سنگین تر با تجهیزات موجود را فراهم می کند و در طی عملیات طولانی مدت خستگی اپراتور را کاهش می دهد.
صفحه جانبی با بار بهار امکان درج سریع و حذف طناب ها بدون نخ را فراهم می کند و زمان تنظیم را تا 70 ٪ در مقایسه با طرح های بلوک سنتی کاهش می دهد. این ویژگی به ویژه در شرایط اضطراری که در آن استقرار سریع می تواند از آسیب باری جلوگیری کند یا ایمنی را تقویت کند ، بسیار ارزشمند است.
بلوک Snatch هر دو طناب سیم (IPS درجه 6x37) و پلی اتیلن پلی اتیلن با مدل بالا (HMPE) را در محدوده قطر 22-32 میلی متر قرار می دهد. شیار شیروانی جلا به طور خاص برای جلوگیری از آسیب فیبر طناب مصنوعی در حالی که در حین عمل گرفتن ایمن نگه داشته می شود ، مهندسی شده است.
علاوه بر محفظه ایمنی روی پین رهاسازی ، این بلوک شامل یک پین نشانگر بار است که با افزایش 110 ٪ از SWL ، به وضوح گسترش می یابد و به اپراتورها به شرایط اضافه بار هشدار می دهد. طراحی فریم شامل دستگیرهایی است که برای حفظ انگشتان از نقاط خرد شده در حین کار قرار گرفته است.
بوش های برنز باید به صورت سه ماهه برای علائم سایش مورد بازرسی قرار گیرند ، و شیار چرخشی به طور مرتب تمیز می شود تا بقایای آن را از بین ببرد. کاربرد سبک از گریس درجه دریایی هر 500 چرخه یا ماهانه در برنامه های کاربردی سنگین توصیه می شود. بازرسی سالانه باید یکپارچگی گالوانیزه و تراز برشی را تأیید کند.
بلوک ربوده باربری SB311
| مدل | وزن (کیلوگرم) | SWL (T) | TL (T) |
| SB311-8 '× 2.5t | 29 | 2.5 | 10 |
| SB311-10 '× 3T | 40 | 3 | 12 |
| SB311-12 '× 5T | 46 | 5 | 20 |
| SB311-14 '× 6t | 65 | 6 | 24 |
| SB311-14 '× 8t | 70 | 8 | 32 |
| SB311-16 '× 8t | 98 | 8 | 32 |
| SB311-16 '× 10t | 104 | 10 | 40 |
| SB311-16 '× 15t | 137 | 15 | 60 |
| SB311-18 '× 15t | 153 | 15 | 60 |
| SB311-18 '× 20t | 204 | 20 | 80 |
| SB311-20 '× 25t | 260 | 25 | 100 |
| SB311-24 '× 50t | 360 | 50 | 150 |
| قسمت | شرح | qty | وزن |
| 1 | حلقه بلند | 1 | 29.3 |
| 2 | پرتو | 1 | 24 |
| 3 | فضا | 1 | 0.32 |
| 4 | گردو | 1 | 2.4 |
| 5 | بازپرداخت | 1 | 41.34 |
| 6 | گارد | 2 | 29.84 |
| 7 | چرخ | 1 | 62 |
| 8 | شفت | 1 | 11.26 |
| 9 | محل اتصال | 2 | 18.62 |
| 10 | پین کردن | 1 | 3 |
| 11 | شافت سنجاق | 1 | 2.25 |
| 12 | صفحه لولا | 1 | 27.8 |
| 13 | مهره | 1 | 1.16 |
| 14 | بوش | 1 | 1.68 |
| 15 | محل اتصال | 1 | 3.1 |
| 16 | محل اتصال | 1 | 1.09 |
| 17 | بلوک ثابت | 2 | 0.12 |
| 18 | مهره | 1 | |
| 19 | پین کردن | 1 | |
| 20 | پین کردن | 1 | |
| 21 | زرنگ | 2 |
از آنجا که تدارکات دریایی نیاز به زمان چرخش سریعتر و ظرفیت های بار سنگین تر دارد ، این بلوک ربودن ساخت و سازهای قوی را با عملیات پایین برای افزایش ایمنی و بهره وری عملیاتی ترکیب می کند. برای کنترل SB311 بارهای کار ایمن تا 50 تن (490 کیلو نیوتن) ، دارای یک قرقره با قطر 16 اینچی با یاتاقان های دقیق ، طناب های سیم و شکاف های مصنوعی از قطر 22 میلی متر تا 32 میلی متر است. قاب فولادی قطره ای آن با طراحی پین سریع ، امکان قرار دادن سریع طناب را بدون نخ قرار می دهد ، و این امر را برای واکنش اضطراری و عملیات روتین حمل و نقل ضروری می کند.
SB311 دارای یک برش فولادی سخت شده با یک شیار صیقلی (RA 0.8μm) است که سایش طناب را به حداقل می رساند و باعث از بین رفتن اصطکاک به کمتر از 3 ٪ می شود. این برش بر روی بوش های برنز خودکشی می چرخد که برای 10،000+ چرخه عملیات بدون تعمیر و نگهداری رتبه بندی می شود و عملکرد صاف حتی در محیط های آب شور را تضمین می کند. این طرح یکپارچگی طناب را ضمن حداکثر رساندن راندمان انتقال بار حفظ می کند.
این قاب که از فولاد کربن قطره ای (ASTM A668 درجه متر) با مقاومت کششی بیش از 800 مگاپاسکال تولید می شود ، این قاب در برابر بارهای جانبی تا 125 ٪ SWL مقاومت می کند. صفحه جانبی سریع انتشار دارای یک پین قفل بهار با یک محفظه ایمنی است که از باز شدن تصادفی در حین کار جلوگیری می کند. تمام اجزای تحمل بار برای از بین بردن نقص داخلی تحت بازرسی ذرات مغناطیسی قرار می گیرند.
کل مونتاژ یک پوشش گالوانیزه گرم (حداقل ضخامت 85μm) را با استانداردهای ASTM A153 دریافت می کند و مقاومت در برابر خوردگی برتر را در محیط های آب شور فراهم می کند. اجزای بحرانی مانند محور و بوش ها از 316 فولاد ضد زنگ برای جلوگیری از تصرف ساخته شده اند. شیار برشی شامل یک نشانگر سایش است که در صورت از بین رفتن 10 ٪ ضخامت مواد قابل مشاهده است.
SB311 با هدایت نیروی طناب یا کابل ، به طور موثری ظرفیت بلند کردن سیستم های وینچ را دو برابر می کند در حالی که نیروی عملیاتی مورد نیاز را به نصف کاهش می دهد. این مزیت مکانیکی امکان دستیابی به بارهای سنگین تر با تجهیزات موجود را فراهم می کند و در طی عملیات طولانی مدت خستگی اپراتور را کاهش می دهد.
صفحه جانبی با بار بهار امکان درج سریع و حذف طناب ها بدون نخ را فراهم می کند و زمان تنظیم را تا 70 ٪ در مقایسه با طرح های بلوک سنتی کاهش می دهد. این ویژگی به ویژه در شرایط اضطراری که در آن استقرار سریع می تواند از آسیب باری جلوگیری کند یا ایمنی را تقویت کند ، بسیار ارزشمند است.
بلوک Snatch هر دو طناب سیم (IPS درجه 6x37) و پلی اتیلن پلی اتیلن با مدل بالا (HMPE) را در محدوده قطر 22-32 میلی متر قرار می دهد. شیار شیروانی جلا به طور خاص برای جلوگیری از آسیب فیبر طناب مصنوعی در حالی که در حین عمل گرفتن ایمن نگه داشته می شود ، مهندسی شده است.
علاوه بر محفظه ایمنی روی پین رهاسازی ، این بلوک شامل یک پین نشانگر بار است که با افزایش 110 ٪ از SWL ، به وضوح گسترش می یابد و به اپراتورها به شرایط اضافه بار هشدار می دهد. طراحی فریم شامل دستگیرهایی است که برای حفظ انگشتان از نقاط خرد شده در حین کار قرار گرفته است.
بوش های برنز باید به صورت سه ماهه برای علائم سایش مورد بازرسی قرار گیرند ، و شیار چرخشی به طور مرتب تمیز می شود تا بقایای آن را از بین ببرد. کاربرد سبک از گریس درجه دریایی هر 500 چرخه یا ماهانه در برنامه های کاربردی سنگین توصیه می شود. بازرسی سالانه باید یکپارچگی گالوانیزه و تراز برشی را تأیید کند.
در DF-274-5 2 سگ بزرگ شده یک عرشه دریایی ممتاز است که توسط Hee (شرکت مهندسی و تجهیزات Changshu Haichuan ، Ltd.) ، Ltd.) ، تولید کننده برجسته مستقر در چین که متخصص تجهیزات دریایی و دریایی است ، مهندسی شده است. این دریچه به منظور رفع نیاز بحرانی به مقاومت قابل اعتماد به آب در محیط های دریایی سخت ، به عنوان یک مانع محافظ برای دهانه های عرشه ، جلوگیری از ورود آب ، تجمع گرد و غبار و خوردگی که می تواند به اجزای داخلی کشتی ها ، سیستم عامل های دریایی یا زیرساخت های بندری آسیب برساند ، طراحی شده است.